QW型潛水無堵塞排污泵,可移動式潛水排污泵,無堵塞潛污泵
QW型潛水無堵塞排污泵性能范圍
產品產地:中國·上海
使用環境:潛水
出口公稱直徑(mm):25-500
管道連接方式:法蘭
使用電壓:380V
流量范圍:5-2500m3/h
額定揚程:75m
不銹鋼套筒:可加
額定工作溫度:60℃
過流泵體材質:鑄鐵、不銹鋼201/304/316L
W型無堵塞排污泵是上海楷陽泵業的主要研發對象,楷陽泵業W型排污泵共有六大系列:QW型潛水無堵塞排污泵、GW型管道式無堵塞排污泵、LW型立式無堵塞排污泵、PW型懸臂式離心排污泵、YW型液下無堵塞排污泵、ZW型自吸式無堵塞排污泵。其中QW(WQ)型潛水式可移動無堵塞排污泵是眾多排污泵中常用的一款。廣大客戶可以根據自己的不同需求選購楷陽W型各系列產品,也可以聯系楷陽泵業在線客服咨詢選型。
一、QW(WQ)型潛水式可移動無堵塞排污泵產品介紹:
QW(WQ)型潛水式可移動無堵塞排污泵是上海楷陽泵業在引進國外先進技術的基礎上,結合國內水泵的使用特點而研制成功的新一代水泵類產品,具有節能效果顯著、防纏繞、無堵塞、自動安裝和自動控制等特點。在排送固體顆粒和長纖維垃圾方面,具有獨特效果。
該系列排污泵采用獨特葉輪結構和新型機械密封,自動攪勻排污泵能有效地輸送含有固體物和長纖維。葉輪與傳統葉輪相比,該水泵葉輪采用單流道或雙流道形式,它類似于一截面大小相同的彎管,具有非常好的過流性,配以合理的蝸室,使得該水泵具有效率高、葉輪經動靜平衡試驗,使泵在運行中無振動。
二、QW(WQ)型潛水式可移動無堵塞排污泵使用條件:
1、介質溫度不超過60℃;介質重度為1~1.3kg/dm3。
2、無內自流循環冷卻系統的水泵,電機部分露出液面不起過1/3。
3、鑄鐵材質的使用范圍這PH5~9。
4、1Cr18Ni9Ti不銹鋼材質中便于是般腐蝕性介質。
5、污水泵使用環境海拔高度不超過1000米,超過時應在訂貨時提出,以便為您提供更可靠的產品。
注:用戶如有特殊的溫度、介質要求,請在訂貨時注明輸送介質的詳細情況,以便上海楷陽客服提供更為可靠的產品。
三、QW(WQ)型潛水式可移動無堵塞排污泵產品特點:
1.采用獨特的單片或雙葉片葉輪結構,大大提高了污物通過能力,能有效的通過泵口徑的5倍纖維物質與直徑為泵口徑約50%的固體顆粒。
2.機械密封采用新型硬質耐腐的鈦化鎢材料,可使水泵安全連續運行8000小時以上。
3.整體結構緊湊、體積小、噪聲小、節能效果顯著,檢修方便,無需建泵房,潛入水中即可工作,大大減少工程造價。
4.該水泵密封油室內設置有高精度抗干擾漏水檢測傳感器,定子繞組內預埋了熱敏元件,對水泵電機自動保護。
5.可根據用戶需要配備全自動控制柜,對泵的漏水、漏電過載及超溫等進行自動保護,提高了產品的安全性與可靠性
6.浮球開關可以根據所需液位變化,自動控制泵的起動與停止,不需專人看管,使用極為方便。
7.QW(WQ)系列可根據用戶需要配備雙導軌自動耦合安裝系統,它給安裝、維修帶來更大方便,人可不必為此而進入污水坑。
8.能夠在全揚程內使用,而保證電機不會過載。
9.有兩種不同的安裝方式,固定式自動耦合安裝系統、移動式自由安裝系統。
四、QW(WQ)型潛水式可移動無堵塞排污泵主要用途:
QW(WQ)系列無堵塞潛水排污泵適用于化工、石油、制藥、采礦、造紙工業、水泥廠、煉鋼廠、電廠、煤加工工業,以及城市污水處理廠排水系統、市政工程、建筑工地等行業輸送帶顆粒的污水、污物,也司用于抽送清水及帶腐蝕性介質。
五、QW(WQ)型潛水式可移動無堵塞排污泵注意事項:
1.水泵使用前應仔細檢査電纜有否損壞,緊固件是否松動或脫落,泵在運輸、存放、安裝過程中有無變形或損壞。
2.用500V兆歐表測量水泵電動機相同和相對地間絕緣電阻,其值應不低于2兆歐,否則應對電機定子繞組進行干燥處理,干燥處理的溫度不允許超過120℃。
3.該系列水泵的安裝有固定式和移動式兩種。當采用固定式自動安裝時,應將鏈索分別穿進(偏離泵出水口,其連線應平行于泵出水口的)兩個吊環螺釘或起吊板中上下起吊水泵。均勻緩慢地沿著導軌下滑,直到自動耦合到位。當采用移動式安裝時,先將軟管套好,用鏈索穿進兩個吊環上下起吊水泵,注意切不能將電纜當作繩索使用,以免發生危險。
4.水泵接通后的旋轉方向從進水口看為逆時針轉動,如果水泵反轉,只需將電纜線中的任何二根線對調一下接線位置即可。
5.水泵的機殼地線必須嚴格按有關規程接妥,為了保證使用時人身安全,在水泵運行時,嚴禁在附近安裝、人下水做?~或移動,以防萬一水泵漏電而發生意外事故。
6.水泵在無特殊情況必須配備全自動水泵控制柜,切勿直接掛電網或使用閘刀開關來接通電源,確保水泵正常運行。
7.不得將水泵長期處于低揚程狀態下運行(一般使用揚程不得低于額定揚程的60%),最好能控制在建議使用揚程范圍以內,以防水泵因超載而燒壞電機。
8.無自循環冷卻裝置的泵嚴禁整體露出水面長期運行,以防水泵過熱損壞。
六、QW(WQ)型潛水式可移動無堵塞排污泵維護與保養:
1、水泵應有專人管理與使用,井定期檢査水泵繞組與機殼之間的絕緣電阻是否正常。
2、每次使用特別是用于較稠較粘的漿液后,應將水泵放入清水中運轉數分鐘,防止泵內留下沉積物,保證水泵的清潔。
3、水泵如長時間不用時應將水泵從水中取出,不要長期浸泡在水中,以減少電機定子繞組受潮的機會,增加水泵的使用壽命。
4、水泵拆卸、維修后,機殼組件必須經0.2MPa氣密試驗檢査,以確保電機密封可靠。
5、葉輪和泵體之間的密封環具有密封功能,如密封損壞將直接影響到泵的性能,必要時應更換。整體結構緊湊、體積小、噪聲小、節能效果顯著,檢修方便,無需建泵房,潛入水中即可工作,大大減少工程造價。
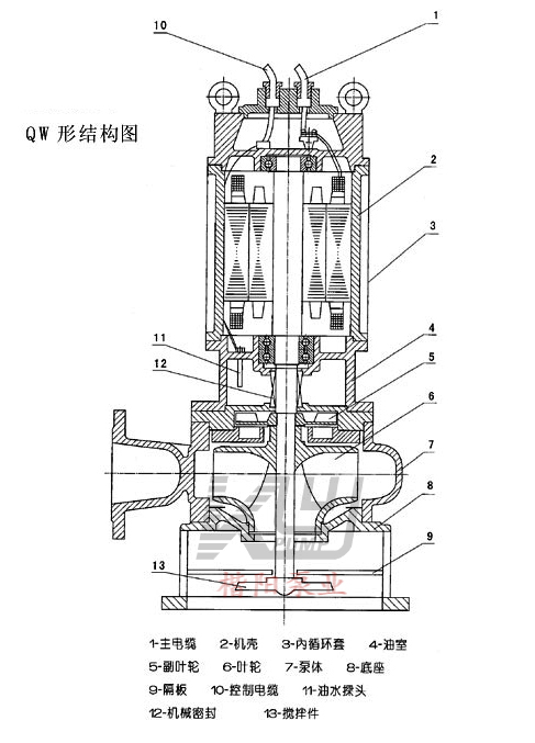
七、QW(WQ)型潛水式可移動無堵塞排污泵結構圖:

八、QW(WQ)型潛水無堵塞排污泵性能參數:
型 號 | 口 徑 | 流 量 | 揚 程 | 功 率 | 轉 速 | 效 率 |
25QW8-15-1.1 | 25 | 8 | 15 | 1.1 | 2900 | 38.5 |
32QW12-15-1.1 | 32 | 12 | 15 | 1.1 | 2900 | 40 |
40QW15-15-1.5 | 40 | 15 | 15 | 1.5 | 2900 | 45.1 |
40QW15-30-2.2 | 40 | 15 | 30 | 2.2 | 2900 | 48 |
50QW20-7-0.75 | 50 | 20 | 7 | 0.75 | 2900 | 54 |
50QW10-10-0.75 | 50 | 10 | 10 | 0.75 | 2900 | 56 |
50QW20-15-1.5 | 50 | 20 | 15 | 1.5 | 2900 | 55 |
50QW15-25-2.2 | 50 | 15 | 25 | 2.2 | 2900 | 56 |
50QW18-30-3 | 50 | 18 | 30 | 3 | 2900 | 58 |
50QW25-32-5.5 | 50 | 25 | 32 | 5.5 | 2900 | 53 |
50QW20-40-7.5 | 50 | 20 | 40 | 7.5 | 2900 | 55 |
65QW25-15-2.2 | 65 | 25 | 15 | 2.2 | 2900 | 52 |
65QW37-13-3 | 65 | 37 | 13 | 3 | 2900 | 55 |
65QW25-30-4 | 65 | 25 | 30 | 4 | 2900 | 58 |
65QW30-40-7.5 | 65 | 30 | 40 | 7.5 | 2900 | 56 |
65QW35-50-11 | 65 | 35 | 50 | 11 | 2900 | 60 |
65QW35-60-15 | 65 | 35 | 60 | 15 | 2900 | 63 |
80QW40-7-2.2 | 80 | 40 | 7 | 2.2 | 2900 | 52 |
80QW43-13-3 | 80 | 43 | 13 | 3 | 2900 | 50 |
80QW40-15-4 | 80 | 40 | 15 | 4 | 2900 | 57 |
80QW65-25-7.5 | 80 | 65 | 25 | 7.5 | 2900 | 56 |
100QW80-10-4 | 100 | 80 | 10 | 4 | 1440 | 62 |
100QW110-10-5.5 | 100 | 110 | 10 | 5.5 | 1440 | 66 |
100QW100-15-7.5 | 100 | 100 | 15 | 7.5 | 1440 | 67 |
100QW85-20-7.5 | 100 | 85 | 20 | 7.5 | 1440 | 68 |
100QW100-25-11 | 100 | 100 | 25 | 11 | 1460 | 65 |
100QW100-30-15 | 100 | 100 | 30 | 15 | 1460 | 66 |
100QW100-35-18.5 | 100 | 100 | 35 | 18.5 | 1470 | 65 |
125QW130-15-11 | 125 | 130 | 15 | 11 | 1460 | 62 |
125QW130-20-15 | 125 | 130 | 20 | 15 | 1460 | 63 |
150QW145-9-7.5 | 150 | 145 | 9 | 7.5 | 1440 | 63 |
150QW180-15-15 | 150 | 180 | 15 | 15 | 1460 | 65 |
150QW180-20-18.5 | 150 | 180 | 20 | 18.5 | 1470 | 75 |
150QW180-25-22 | 150 | 180 | 25 | 22 | 1470 | 76 |
150QW130-30-22 | 150 | 130 | 30 | 22 | 1470 | 75 |
150QW180-30-30 | 150 | 180 | 30 | 30 | 1470 | 73 |
150QW200-30-37 | 150 | 200 | 30 | 37 | 1480 | 70 |
200QW300-7-11 | 200 | 300 | 7 | 11 | 970 | 73 |
200QW250-11-15 | 200 | 250 | 11 | 15 | 970 | 74 |
200QW400-10-22 | 200 | 400 | 10 | 22 | 1470 | 76 |
200QW400-13-30 | 200 | 400 | 13 | 30 | 1470 | 73 |
200QW250-15-18.5 | 200 | 250 | 15 | 18.5 | 1470 | 72 |
200QW300-15-22 | 200 | 300 | 15 | 22 | 1470 | 73 |
200QW250-22-30 | 200 | 250 | 22 | 30 | 1470 | 71 |
200QW350-25-37 | 200 | 350 | 25 | 37 | 1980 | 75 |
200QW400-30-55 | 200 | 400 | 30 | 55 | 1480 | 70 |
250QW600-9-30 | 250 | 600 | 9 | 30 | 980 | 74 |
250QW600-12-37 | 250 | 600 | 12 | 37 | 1480 | 78 |
250QW600-15-45 | 250 | 600 | 15 | 45 | 1480 | 75 |
250QW600-20-55 | 250 | 600 | 20 | 55 | 1480 | 73 |
250QW600-25-75 | 250 | 600 | 25 | 75 | 1480 | 73 |
300QW800-12-45 | 300 | 800 | 12 | 45 | 980 | 76 |
300500QW15-45 | 300 | 500 | 15 | 45 | 980 | 70 |
300QW800-15-55 | 300 | 800 | 15 | 55 | 980 | 73 |
300QW600-20-55 | 300 | 600 | 20 | 55 | 980 | 75 |
300QW800-20-75 | 300 | 800 | 20 | 75 | 980 | 78 |
300QW950-20-90 | 300 | 950 | 20 | 90 | 980 | 80 |
300QW1000-25-110 | 300 | 1000 | 25 | 110 | 980 | 82 |
350QW1100-10-55 | 350 | 1100 | 10 | 55 | 980 | 84.5 |
350QW1500-15-90 | 350 | 1500 | 15 | 90 | 980 | 82.5 |
350QW1200-18-90 | 350 | 1200 | 18 | 90 | 980 | 83.1 |
350QW1100-28-132 | 350 | 1100 | 28 | 132 | 740 | 83.2 |
350QW1000-36-160 | 350 | 1000 | 36 | 160 | 740 | 78.5 |
400QW1500-10-75 | 400 | 1500 | 10 | 75 | 980 | 82.1 |
400QW2000-15-132 | 400 | 2000 | 15 | 132 | 740 | 85.5 |
400QW1700-22-160 | 400 | 1700 | 22 | 160 | 740 | 82.1 |
400QW1500-26-160 | 400 | 1500 | 26 | 160 | 740 | 83.5 |
400QW1700-30-200 | 400 | 1700 | 30 | 200 | 740 | 83.5 |
400QW1800-32-250 | 400 | 1800 | 32 | 250 | 740 | 82.1 |
500QW2500-10-110 | 500 | 2500 | 10 | 110 | 740 | 82 |
500QW2600-15-160 | 500 | 2600 | 15 | 160 | 740 | 83 |
500QW2400-22-220 | 500 | 2400 | 22 | 220 | 740 | 84 |
500QW2600-24-250 | 500 | 2600 | 24 | 250 | 740 | 82 |
公司名稱:上海楷陽泵業制造有限公司
免費服務熱線:400-128-5898
銷售熱線:021-20978860
021-20978861
圖文傳真:021-20978862
地 址:上海市奉賢區平林支路7號
郵 編:201424
公司郵箱:shkypump@163.com
公司官網:m.kxuv.cn
www.shky-pump.com


滬公網安備 31012002002635號